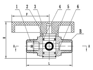
Hochdruck-Kugelhahn, Edelstahl
Druckstufen
- Normale Durchflussrichtung: 3000 psi (207 bar) CWP
- Durchflussrichtung rückwärts: 150 psi (10 bar)
- Downstream-Entlüftung: 150 psi (10 bar)
Spezifikationen
Inch/Metric(mm)
| Größe (Zulauf) | DO | B | H | F | L |
| Inch | mm | Inch | Inch | mm | Inch | mm | Inch | mm |
| 1/8 | 0.172 | 4.37 | 1/8 | 1.64 | 41.66 | 2.00 | 50.80 | 1.78 | 45.21 |
| 1/4 | 0.172 | 4.37 | 1/4 | 1.64 | 41.66 | 2.00 | 50.80 | 2.09 | 53.09 |
| 1/4 | 0.283 | 7.19 | 1/4 | 2.18 | 55.37 | 2.63 | 66.80 | 2.38 | 60.45 |
| 1/2 | 0.283 | 7.19 | 1/2 | 2.18 | 55.37 | 2.63 | 66.80 | 2.88 | 73.15 |
| Pos. | Bauteil | Kugelhahn aus Edelstahl | Kugelhahn aus Messing |
| 1 | Gehäuse | 316 S.S | Hpb58-3A |
| 2 | Spindel | 316 S.S | Hpb58-3A |
| 3 | Handhebel | Nylon |
| 4 | O-Ring | Viton |
| 5 | O-Ring | Viton |
| 6 | Sicherungsring | Edelstahl |
| 7 | LOK-Fittings | 316 S.S | Messing |
Spezifikationen
Inch/Metric(mm)
| Größe (Zulauf)(B) | DO | C | H | F | L |
| Inch | mm | Inch | Inch | mm | Inch | mm | Inch | mm |
| 1/4 | 0.172 | 4.37 | 1/4 | 1.64 | 41.66 | 2.00 | 50.80 | 2.00 | 50.80 |
| Pos. | Bauteil | Kugelhahn aus Edelstahl | Kugelhahn aus Messing |
| 1 | Gehäuse | 316 S.S | Hpb58-3A |
| 2 | Spindel | 316 S.S | Hpb58-3A |
| 3 | Handhebel | Nylon |
| 4 | O-Ring | Viton |
| 5 | O-Ring | Viton |
| 6 | Sicherungsring | Edelstahl |
Spezifikationen
Inch/Metric(mm)
| Größe (Zulauf) | DO | B | H | F | L |
| Inch | mm | Inch | Inch | mm | Inch | mm | Inch | mm |
| 1/8 | 0.172 | 4.37 | 1/8 | 1.64 | 41.66 | 2.00 | 50.80 | 1.53 | 38.86 |
| 1/4 | 0.172 | 4.37 | 1/4 | 1.64 | 41.66 | 2.00 | 50.80 | 1.90 | 48.26 |
| 1/2 | 0.283 | 7.19 | 1/2 | 2.18 | 55.37 | 2.63 | 66.80 | 2.64 | 67.06 |
| Pos. | Bauteil | Kugelhahn aus Edelstahl | Kugelhahn aus Messing |
| 1 | Gehäuse | 316 S.S | Hpb58-3A |
| 2 | Spindel | 316 S.S | Hpb58-3A |
| 3 | Handhebel | Nylon |
| 4 | O-Ring | Viton |
| 5 | O-Ring | Viton |
| 6 | Sicherungsring | Edelstahl |
Spezifikationen
Inch/Metric(mm)
| Größe (Zulauf) | DO | B | H | F | L |
| Inch | mm | Inch | Inch | mm | Inch | mm | Inch | mm |
| 1/4 | 0.172 | 4.37 | 1/4 | 1.64 | 41.66 | 2.00 | 50.80 | 2.03 | 51.56 |
| Pos. | Bauteil | Kugelhahn aus Edelstahl | Kugelhahn aus Messing |
| 1 | Gehäuse | 316 S.S | Hpb58-3A |
| 2 | Spindel | 316 S.S | Hpb58-3A |
| 3 | Handhebel | Nylon |
| 4 | O-Ring | Viton |
| 5 | O-Ring | Viton |
| 6 | Sicherungsring | Edelstahl |
| 7 | LOK-Fittings | 316 S.S | Messing |
Intech Manufacturing ist ein professioneller Hersteller von Standard- und maßangefertigten Ventilen, Verbindunsstücken und Fittings, Maschinenbauteilen, Kunststoffteilen und Gummikomponenten. Wir können auch auf Maß Ventile anfertigen, z.B. aus Edelstahl, Messing, Bronze, Karbonstahl, Aluminium und Kunststoff. Wenn wir ein Produkt nicht selbst herstellen können, beschaffen wir für unsere Kund*innen die gewünschten Ventile, Fittings, Schläuche und Maschinenbauteile von anderen, uns vertrauten Herstellern. Bei uns erhalten Sie also alles, was Sie brauchen - One-Stop Rundum-Service.